林时庆,谷成明,袁俊峰
(环球阀门集团有限公司,浙江 温州 325105) 摘要 介绍了超高压小口径锻钢阀的新型结构特点,结合常用小口径锻钢阀结构的优缺点,做出适宜的结构改进。该阀国家专利已经授权(专利号:ZL201120370084.X)
关键词 超高压小口径锻钢阀;新型结构。
The forging steel valve of type of new structure with Ultrahigh pressure &small-bore LIN shiqing,GU cengming,YUAN junfeng (Huanqiu Valve Groups Co.,Ltd,Wenzhou,325105,China)
Abstract:Introduced the trait of The forging steel valve of type of new structure with Ultrahigh pressure &small-bore , Combined with the advantage & disadvantage of structure from the Common used small forging steel valves, made the suitable improvement in the structure , The valve state patent has been authorized (Patent No.: ZL201120370084.X). Key words:The forging steel valve of Ultrahigh pressure &small-bore ; type of new structure. 1概述 超高压小口径锻钢阀在使用过程中,经常是中腔处填料发生泄漏。中腔采用自紧密封结构及中部焊接连接结构可以有效的解决填料处泄漏的问题,但自紧密封结构导致中部体型过大,增加了生产成本,中部焊接结构则影响到阀门维修。因此针对超高压小口径锻钢阀中腔结构进行分析,针对各个优缺点设计出一种新型的结构。
2分析
常规的超高压小口径锻钢阀中部结构有三种:1、阀体阀盖螺纹连接结构 2、中部自紧密封结构3、阀体阀盖焊成一体结构。现针对三种常用结构进行优缺点分析:
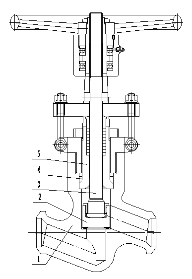
1) 阀体阀盖螺纹连接结构(图1所示): 1、 阀体 2、阀瓣 3、阀杆 4、填料垫 5、填料 6、支架 7、填料压盖 8活节螺栓 图1阀体阀盖螺纹连接结构超高压小口径锻钢阀 阀体阀盖螺纹连接结构优点:阀体与阀盖螺纹连接,填料压盖直接压紧填料,中腔短而薄,节约成本。缺点:由于阀门采用了支架与阀体直接连接,依靠填料压盖直接压紧填料,若活节螺栓发生断裂或支架出现断裂,可能导致阀杆冲出。对于超高压阀门存在安全隐患。
2) 中部自紧密封结构(图2所示): 1、 阀体 2、阀瓣 3、阀杆 4、密封环 5、阀盖 图2 中部自紧密封结构超高压小口径锻钢阀
中部自紧密封结构优点:介质作用在阀体中腔,推动阀盖上升压紧密封环,阀杆上升到阀盖处停止,实现倒密封,且压力不直接作用在填料垫上。阀盖越压越紧,中腔密封性能好。缺点:该结构由于采用了自紧密封结构,解决了中腔泄露问题,且维修方便。但由于结构原因导致中腔体型过大,支架受力面积大,导致支架受力面积增加,增加了制造成本,不适用于小口径阀门。
3) 阀体阀盖焊成一体结构(图3所示): 1、 阀体 2、阀瓣 3、阀杆 4、阀盖 图3 阀体阀盖焊成一体结构超高压小口径锻钢阀
阀体阀盖焊成一体结构优点:阀体与阀盖采用螺纹连接,螺纹连接后把阀体于阀盖焊成一体,有效的防止螺纹处泄露。缺点:由于为了防止螺纹成为泄漏点,把阀体与阀盖焊成一体,给阀门维修带来了麻烦,特别是密封面泄漏时,必须割断阀门焊点,致阀门整台报废。
3新型结构
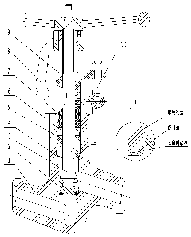
1、阀体 2、阀瓣 3、阀杆 4、密封垫 5、密封座 6、填料垫 7、填料8、支架 9、填料压盖 10、活节螺栓
图4超高压小口径锻钢阀新型结构
经过对以上几种结构的分析,针对超高压小口径锻钢阀阀体中部进行优化设计。在阀体与阀盖螺纹连接结构基础上,增加一个密封座(图4),密封座与阀体采用螺纹连接,密封座上螺纹强度经过计算可以满足阀门在高压状态下起固定作用。密封座上开一条槽,使用专用工具可以将密封座旋入或旋出阀体。密封座下端外加一个楔形不锈钢丝加柔性石墨的密封垫环,可以有效的防止介质从螺纹处泄露。密封座上具有上密封作用,阀门开启后阀杆作用在密封座上,形成上密封,使填料不受介质作用,有效的保护填料,延长填料的使用寿命。密封座具有防飞功能,防止支架或活节螺栓断裂后阀杆飞出,避免了事故的发生。密封座上设有倒密封结构,可实现带压更换填料。
通过在阀体中部加入密封座和密封垫有效的解决活节螺栓断裂后了阀杆飞出,自密封结构的阀体中部结构过于庞大,阀体阀盖焊接结构不易维修等缺陷。满足了带压拆卸填料,防飞出结构和上密封等功能。
4结语
新型结构由于采用了密封座结构,减小了阀门中腔直径,减少阀门重量,节约资源。且拆卸维修方便,取下填料及填料垫后拧出密封座即可更换阀杆,阀瓣等内件。
新型结构的技术关键点是密封座保护填料,并起倒密封作用。
参考文献
1、陆培文.实用阀门设计手册-第二版.北京:机械工业出版社,2007.9(2009.9重印). 2、陆培文 ,高凤琴.阀门设计计算手册.北京:中国标准出版社,2009. 3、杨源泉.阀门设计手册(M).北京:机械工业出版社,1992.
4、吴惠彬,龚鉴棠,俞萍钧.火力发电设备技术手册,北京:机械工业出版社,2000.
5、邱晓来,等.阀门产品样本(M). 北京:机械工业出版社,2002.



